Service Hotline
SMD|Products|-,-,-,-,-,-|Product display|
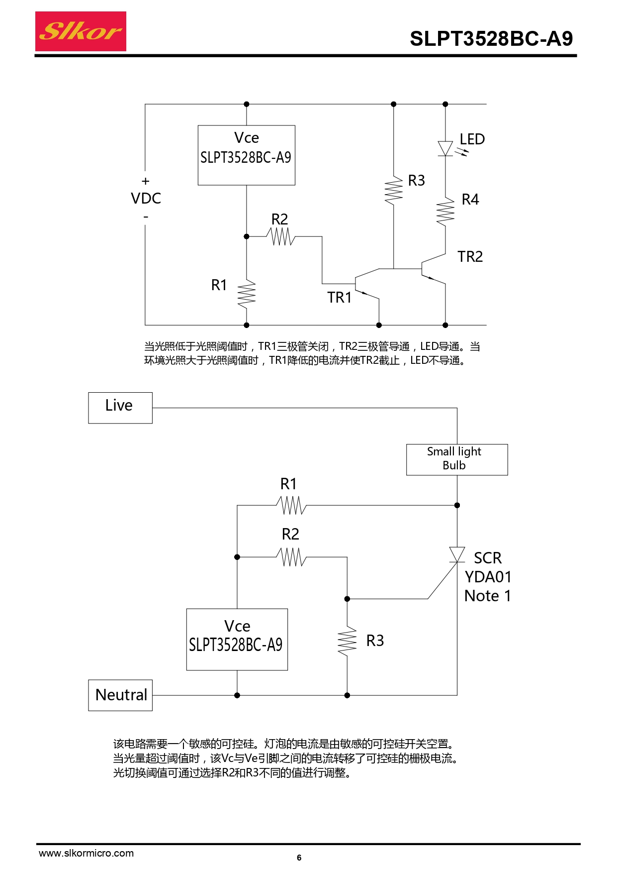
SLPT3528BC-A9 infrared LED is a high sensitivity of the photosensitive sensor, SMD package, small size, high reliability, energy saving and environmental protection, wide application field, it can replace the traditional CDS use, can also be used for product use on the radio and reflection.
Our advantages
Chinese manufacturing processes have undergone years of iteration, resulting in mature and reliable technologies. Many international corporations opt for production outsourcing in China. As an electronic components manufacturer in China, our products can fully replace those of major international brands in 99% of applications without the need for testing verification. Our products boast high consistency in quality, reasonable pricing, ample inventory, flexible supply, short lead times, and professional after-sales service.
Description
SLPT3528BC-A9 infrared LED is a high sensitivity of the photosensitive sensor, SMD package, small size, high reliability, energy saving and environmental protection, wide application field, it can replace the traditional CDS use, can also be used for product use on the radio and reflection.
Features
●850nm Peak wavelength
●High reliability
●Low Power Consumption
●RoHS compliant
Applications
●Instead of conventional CDS photosensitive resistors.
●Suitable for all kinds of light products: such as night lamp etc.
●Products which need to adjust background light automatically, like LCD, mobilephone, camera, computer camera etc.
●Control all kinds of light controlled picture control toys.
●All kinds of light controlled infrared inspection and testing equipment.











Support
If you need design/technical support, please let us know and fill inResponse FormWe will get back to you as soon as possible.
Longevity
The Longevity Program is aimed to provide our customers information from time to time about the expected time that our products can be ordered. The NLP is reviewed and updated regularly by our executive Management Team. View ourlongevity programhere.





